Apple Outlines Smart Wristband with Phone Connectivity and Gesture Control in New Patent
The U.S. Patent and Trademark Office today granted Apple a patent that describes a wrist-worn device containing sensors and wireless radios that allow it to communicate with other devices such as the iPhone, iPad or Mac (Via AppleInsider). It is a comprehensive patent that describes some of the core features of Apple’s rumored iWatch device.
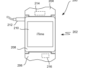
Front view of a device similar to a sixth-generation iPod nano docked into wristband
The invention details a modular device, identified in the patent as the “iTime”, that features a wrist-worn, sensor-laden strap and potentially removable modules. The modules, such as a media player, can snap into a wristband, which contains add-ons like GPS and a Wi-Fi radio that increase the functionality of the device. The system is reminiscent of the sixth-generation iPod nano, which fits a wristband to become a wearable media player.
The invention pertains to an electronic wristwatch. According to one embodiment, an electronic wristband can provide additional electrical circuitry or devices that can be made available for use as or with an electronic device. In one embodiment, the electronic device can be a mobile electronic device that can be removably coupled to the electronic wristband which provides the additional circuitry or devices. Advantageously, the electronic device can utilize the additional electrical circuitry or devices provided within the electronic wristband to augment the capabilities of the electronic device. In another embodiment, the electronic device can be integrally formed with the electronic wristband which provides the additional circuitry or devices.
Side view showing wristband with docking connector (314)
Apple also describes a method of connecting the smartwatch to a mobile device that allows for the display of incoming calls, text messages and other alerts on the wrist-worn display. In another embodiment, the device can alert the user when it is out of range and thus at risk of being lost or stolen. The patent also contains provisions for movement-based controls of the wristwatch device.
Apple is rumored to be working on the iWatch, a smartwatch device that could debut later this year. Rumors suggests the wristband may include sensors to monitor activity levels, heart rate and other vital health functions. The device likely will share its data with iOS via the new Health app in iOS 8.![]()



