Crash through buildings and zip line with a cane in Granny Smith [App of the Day]

Debuting back in 2012, Granny Smith seemed to be one of those breakout games that would climb the app charts. I thought the game was excellent, and I still do, but I never noticed anyone playing it and none of my friends or family asked about it. The game has been successful, but has not quite reached the level of Candy Crush Saga, or Angry Birds.
Today, I would like to present to some and introduce to others, Granny Smith from Mediocre Games.
Granny Smith pits you (Granny) against an apple thief on skates, with the goal of getting to your apples before the thief does. The game is fast-paced and the action starts from the beginning. Get back your apples by skating, breaking through glass and other objects, flipping, and zip lining your way through the game. The physics engine allows for shards and particles to fly everywhere as you bust through windows, walls and crates.
Coins are earned by riding over them while progressing through the various levels, and can be used to purchase equipment to help Granny along the way.
With close to 29,000 reviews, I’m sure this game has been played by some, but a game like this should be enjoyed by all. Get the word out. Tell your friends about this gem of a game.
The post Crash through buildings and zip line with a cane in Granny Smith [App of the Day] appeared first on AndroidGuys.
New telescopes could uncover a wormhole in our own galaxy
If you’re ever unlucky enough to be sucked towards a super-dense black hole, you’ll soon arrive at something called the event horizon — from which nothing can escape, including light. Thanks to a new “earth-sized” radio telescope, scientists may soon know whether you’ll become stretched out infinitely (“spaghetti-ized”) or merely vaporized. Knowing which of those gory fates is correct will help astronomers in their quest to unify Einstein’s theories involving planetary motion with sub-atomic quantum mechanics. Even more intriguingly, a separate telescope called the GRAVITY in Northern Chile may soon tell us if the Sagitarius ‘A’ black hole at the center of our own galaxy is actually a wormhole instead.
Leaving wormholes aside for a moment, the Event Horizon Telescope is designed to spy the structure of “regular” black holes. Located in Chile, it combines multiple radio telescopes around the world and an extraordinarily precise atomic clock to simulate one huge, earth-sized telescope. When trained on black holes, it should deliver pictures of a very bright ring of gas surrounding a circular dark spot, as close to “imaging” one as we’re likely to get (considering they emit no light). Along with pretty pictures, it may give insight about whether a black hole’s event horizon would allow matter in before elasticizing it or be an impenetrable “firewall” that incinerates anything foolish enough to enter.
The GRAVITY telescope, meanwhile, is designed to image black holes for a different purpose. Instead, it’s looking to see if our own Milky Way galaxy’s Sagitarius ‘A’ isn’t a black hole at all, but a wormhole. Both types of structures contain an impenetrable event horizon, but are otherwise very different. For instance, black holes theoretically take a long time to form following the collapse of large stars and can be massive. Wormholes are also permitted by general relativity, but if they actually exist, were formed in a split second after the big bang and would be small structures. And as any science fiction buff knows, wormholes aren’t bottomless pits like black holes but can join two vast sections of space-time, or even two separate universes. GRAVITY will detect the signature of our own black hole, and look for telltale energy signatures of wormholes created by orbiting plasma (see below). As for the rapid space-time travel, though, don’t hold your breath — while stabilizing a wormhole is theoretically possible, it wouldn’t be easy.

Via: Medum.com
Source: Cornell University Library
Comcast and TWC voted most-hated ISPs in America’s most-hated industry
America’s Consumer Satisfaction Index doesn’t have a lot of nice things to say about Comcast or Time Warner Cable. The two business, which are currently trying to merge with each other, were found to be the worst ISPs in the most-hated industry that the index covers. Time Warner has the dubious achievement of making an all-time low score of 56 out of 100, with Comcast coming in just ahead of it with 57. On the other end of the scale, the 12,248 participants reluctantly gave their blessing to Verizon’s FiOS, with a score of 71, and AT&T’s U-Verse, which scored 65. What will this mean if Comcast and TWC do create a nationwide “triple play” behemoth? Mammoth profits for some, and red-faced calls for plenty of others.
Filed under: Internet, Verizon, AT&T
Source: Ars Technica
Apple now letting UK customers trade in their iPad at retail stores
Seven months after it began letting customers trade in their iPhones at its retail stores, Apple’s expanded its Reuse and Recycle programme to include iPads. From today, anyone with an iPad 2, iPad 3, iPad 4 and iPad mini can walk into an Apple Store, hand over their tablet and receive credit towards a new iOS device. However, the company will not accept current-generation devices like the iPad Air or iPad mini with Retina display. As with its iPhone programme, Apple will assess the condition of devices before providing a trade-in value, so don’t expect a huge return if your iPad has seen better days.
Via: 9to5mac
Source: Apple Retail
The words hashtag, steampunk and selfie are now tired enough to go in the dictionary
There’s something in the water over on lexicography boulevard. Just a day after Collins asked Twitter users to vote on a new word, Merriam-Webster has revealed which internet-born terms it now considers official. The 150 strong list includes crowdfunding, selfie and hashtag, all the way through to more cultural ones like catfish, tweep and steampunk. Just think, you can use all six of those words in a term paper and your teacher can’t be mad at you, because, duh, they’re all in the dictionary.
Filed under: Internet
Via: LA Times
Source: Merriam-Webster
EA Sports UFC looks to bring out the mixed martial arts fighter in you
Given the success of franchises like FIFA and Madden, it’s easy to see why EA would want to commit valuable resources to developing an MMA title, a sport that’s been getting bigger and bigger over the past few years. But the road for creating this new game, dubbed EA Sports UFC, wasn’t an easy one. The relationship between UFC President Dana White and EA had its complications a few years ago. Back then, the developer reportedly wasn’t interested in making a title for the mixed martial arts company, which is what started the kerfuffle between them. Because of this, UFC eventually hooked up with THQ to create a game, while EA Sports went on to develop its own MMA series. Still, neither of these things lasted too long. And after the unfortunate demise of THQ, EA Sports eventually reached a deal with UFC, granting it licensing rights for the popular MMA league. The by-product? EA Sports UFC.
EA Sport’s UFC, which is launching exclusively on PlayStation 4 and Xbox One, offers everything you can expect from the big developer of sport titles. If you’re familiar with FIFA 14, Madden NFL 25 or, for whatever reason, NBA Live 14, then you’re going to feel right at home with the menus and game modes. The tile-based user interface is very simple to browse, and you soon learn that the modes found within the game are quite similar to those on other EA Sports franchises, like the ones mentioned above. There are things such as Fight Now, which quickly lets you jump into a match; Career Mode, wherein you can go from being a nobody to a famous ultimate fighter; and UFC Spotlight, which is a hub that gathers highlight videos from you, friends or the online community. You can also create a character (though only for personal use), challenge friends in what EA is calling Rivalries and do some training to improve your overall skills in the game.

“Our goal was to set a standard for how characters should act and look on next-generation.”
So, what about, you know, gameplay? And just how good does it look? Well, we came out pretty impressed. There’s no doubt that EA Sports UFC, powered by the Ignite engine, takes full advantage of the graphics power inside Sony’s and Microsoft’s new consoles. Simply put, it looks fantastic — for reference, it plays in 1080p at 30fps. In general, the amount of detail you can see within each MMA battle is quite remarkable. You can easily spot a lot of what’s going on with your fighter’s body and, in some cases, it may even be more than you would have liked to. Muscle flexing? Check. The smallest of chest hairs? Check. Hm, acne? Check. Yes, it’s all there for the taking, whether you want it or not. But it’s a beautiful scene, in its own magnificent way, and a huge step up from what we’ve seen in PS3 or Xbox 360 titles. “Our goal was to set a standard for how characters should act and look on next-generation,” Brian Hayes, the game’s creative director, told us.
Oh, and did we mention Bruce Lee? Yes. Bruce. Lee.
The controls, meanwhile, aren’t that complicated, which is good news for someone who just wants to play a fighting game. Much like with EA Sports’ Fight Night, it does take a little while to become decent at putting solid combos together. Once you get the hang of it, though, it turns into quite a fun experience — matches in the octagon are played at a nice pace, but they can end relatively quickly if you’re not blocking shots properly. Naturally, part of the experience has to do with the professionals you can use in the game; the rosters include most current UFC fighters plus others like Chuck Liddell. Oh, and did we mention Bruce Lee? Yes. Bruce. Lee.
EA Sports says it’ll be working constantly to improve UFC after its release, with expanded rosters and other features like that. The game will be available in the US on June 17th and elsewhere on June 20th.
Filed under: Gaming, Home Entertainment, HD
Source: EA Sports
Google Stories automatically creates digital journals from your photos and videos
Google has steadily been improving its Auto Awesome personal storytelling features inside G+, and today it launched a new tool that is simply called “Stories.” The idea is that no one really has a huge amount of time to dedicate to creating albums for personal events, so Stories can do that for you — automatically weaving together photos, videos and location data into a ready-made travelogue. The new feature will be available to try on the web and on Android devices sometime later this week, with an appearance on the iOS version of G+ also promised in the future.
Source: Google
Move over Moto 360: The Kairos Mechanical Smart Watch Hybrid is here to make you Drool
In an earlier article, I mentioned that the Motorola Moto 360 has been the smartwatch the seems to have encapsulated what some of us have been hoping for in a smart watch. That, of course, was before I saw the intro video for the Kairos Mechanical Smart Watch Hybrid. If the above image isn’t enough to convince you, take a look at the video below:
As you might have guessed, this so-called “hybrid” is a marriage of a fully mechanical watch which is overlaid with a 1.4-inch PMOLED (that’s Passive-Matrix OLED) touch display which is 40% transparent which can show various notifications sent via Bluetooth from a paired Android (or iOS) device. The pairing of a ARM Cortex M4 and a 180mAh battery still makes for a very economical 5-7 days battery life, but naturally, the mechanical watch beneath is powered separately.
While the Kairos watch is currently designed with SmartOS, Kairos says they are determined to migrate the device to Android Wear in the near future. Hardware goodies available to the Kairos watches include a 3-axis accelerometer, Bluetooth, and a vibration motor, with a breadth of other functionality also afforded to it thanks to its connection to a smartphone. Pre-orders for the Kairos watches are open now, but they aren’t cheap: prices range from $499 to $2149 USD and will only start being received at the end of this year, continuing into next year. Still, it might be worth it if the final product looks even remotely like what the video depicted.
What do you think about the Kairos Mechanical Smart Watch Hybrid? Would you considering one of these or are you more set on cheaper smart watches? Let us know your thoughts in the comments.
Source: YouTube via Android Friendly
Apple Researching Integration of Solar Panels in Flexible Touchscreen Displays
The U.S. Patent and Trademark Office today granted a new Apple patent describing the integration of a solar panel into a mobile touchscreen device with a flexible display, reports AppleInsider.
The newly granted patent is a variation on patent No. 8,730,179, which primarily applies to display-less, touch-capable devices, limiting its functionality in contemporary mobile devices. Both patent applications were filed on September 30, 2008, but the expanded version granted today has taken more time to work its way through the approval process.
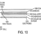
Today’s patent describes a method of stacking solar cells between touch sensor layers within a display matrix to create a compact solar charging system that stores energy in the device’s battery. It applies to both glass-covered and flexible plastic displays.
Integrated touch sensor and solar panel stack-up configurations that may be used on portable devices, particularly handheld portable devices such as a media player or phone are disclosed. The solar cell stack-up configurations may include one or more touch sensor layers and one or more solar cell layers. By integrating both the touch sensors and the solar cell layers into the same stack-up, surface area on the portable device may be conserved.
Given the limited power made available through solar charging and the power consumption requirements of mobile devices, this technology likely won’t be the main source of power in a device. It could, however, serve as a backup power source or may pave the way for advancements that could increase the efficiency of the system as mobile devices and solar technology improve.
Apple has reportedly explored a number of methods, including solar for charging its rumored iWatch. Other possible methods have included wireless induction charging and kinetic charging that would capture energy imparted as the user’s arm moves.![]()
LG gearing up for G Watch launch

LG is prepping the launch of one of the first Android Wear smartwatches, the G Watch. After many different teases, especially the video last week (down below), LG has posted an article on their site called “Smart Watch is an IT and fashion fusion.”
The article goes into detail about how the G Watch is not the first “smartwatch” they thought about. The article is in Korean, so make use your translate option if you’re in Google Chrome. LG also released a picture of some famous TV characters such as Knight Rider and Captain Kirk to show that this idea of a smartwatch is actually becoming a reality.
The G Watch is slated for June availability and will be available in both Stealth Black and Champagne Gold. The watch will have a 1.85-inch display and 4GB of internal memory.
Source: LG Via: MobileSyrup
The post LG gearing up for G Watch launch appeared first on AndroidGuys.










