RunKeeper’s Goal Coach helps you keep pace without all the yelling
Just a week after introducing its newfangled step-tracking app Breeze, RunKeeper is updating its iOS training software with a new jogging partner. With the latest version, you’ll have access to Goal Coach: a motivational feature that helps with goal setting, sticking to training plans and exceeding your own expectations. If you’ve splurged for the Elite version, the aforementioned trainer will serve up weekly updates — in addition to RunKeeper’s other stats — keeping you longing to hit the trail. Haven’t opted in yet? Well, the price for new users on May 1st increases to $10/month or $40/year, so you may want to decide quickly. Of course, NikeFuel is said to be on its way to the app as well, so you’ll have that extra bit of motivation tossed in, too.
Source: RunKeeper (iTunes)
Facebook Newswire aims to deliver breaking news to journalists

Twitter’s made serious efforts to turn itself into more than just a social network: it wants to be the go-to tool for journalists searching for breaking news. Naturally, it makes sense for Facebook to follow suit as the two continue to play feature tag. Newswire is Zuckerberg & co.’s answer to Dataminr for News. It aggregates shared stories, photos and status updates that might be of interest to journalists and news organizations.
This isn’t just some haphazard collection of BuzzFeed lists and conspiracy blogs ,though. The service is powered by Storyful, a company that specializes in filtering out the noise and delivering “valuable content” through a social newswire service.
In its current incarnation, Newswire is a little bare-bones. There’s a Facebook page and a Twitter account that simply collect popular stories and spit them out in chronological order. Put more simply: journalists are expected to follow this Facebook page and check it regularly for new content.
Even though it’s being pitched at those in the news industry, the page seems like it would be of more interest to the casual news reader. It’s not about getting stories to reporters before they become viral sensations, it’s about highlighting the best stories out there — whether they come from a news organization, a personality (such as the president) or a person who just happened to be at the right place at the right time (or the wrong place at the wrong time). News simply isn’t as new by the time it reaches that scale.
This isn’t just some half-assed, reactionary response to Twitter’s own tool. Facebook has been making efforts to improve its news delivery and offer services to journalists for some time. It’s been fine honing its Newsfeed for the last couple of years in an effort to surface better content that’s relevant to its users. The company’s also offered news organizations ways to tap into public conversations taking place on the social network to bring context to their reporting.
It’s not hard to imagine that all these efforts will eventually become unified under a single umbrella. Obviously Facebook isn’t saying anything right now, but imagine a day where a customized Newsfeed is delivered to you through a mix of machine learning and hands-on editorial guidance from a human being. It would bring news not just to the casual visitor, but to journalists too who would be able to quickly hop into public discussions to pull quotes for their own articles. Of course, we want to keep our jobs, so let’s hope the future doesn’t come too soon.
Leica’s T mirrorless camera is built from a solid brick of aluminum
Leica‘s been making cameras for a full century this year, and to celebrate, it’s just now getting around to releasing an interchangeable-lens camera that you might actually be able to afford… until you factor in the glass. Priced around $1,850 (without a lens), the T looks like a camera that you might want to own. Its core is chiseled from a solid brick of aluminum, resulting in a beautiful body (that’s equally durable). There’s a 16-megapixel APS-C sensor, a 3.7-inch high-res touchscreen, a 12,500 top ISO, 1080p video capture, a 5 fps continuous shooting mode and a pair of top-mounted control wheels for adjusting exposure. There’s also integrated WiFi, and you can pop on an optional electronic viewfinder, if that’s your thing.
Of course, since there’s a new lens mount, you’ll need to add on a $395 adapter to use your M-mount glass. Or you can buy one of two T-mount lenses: an $1,750 18-56mm f/3.5-5.6 zoom or a 23mm f/2 prime lens that’ll retail for around the same price. Leica’s also planning to show off 11-23mm and 55-135mm zoom lenses at Photokina this September, so you’ll be able to drop a few more grand to complete your set sometime soon. A silver version of the camera is expected to hit stores next month, while a black model should be available in early August. Hit up our friends at DPReview for some early impressions of the Leica T (spoiler alert: they really seem to like it).
FreedomPop offers BYOD

FreedomPop on Thursday announced the availability of the HTC EVO 4G. Joining the Samsung Galaxy S II ($159), the classic smartphone of days gone by is only $119, and without a contract.
Those who are not interested in either of the smartphones can also bring a Sprint-supported to FreedomPop’s network. Indeed, the carrier has begun offering bring-your-own-device (BYOD) service. The MVNO relies on Sprint’s network and employs VoIP for calls. Customers take take advantage of a free plan with 200 minutes, 500 texts, and 500MB of data or the unlimited voice and text plan which is $4.58 per month. There are also a number of data options that can be used with a variety of devices.
FreedomPop via PhoneScoop
The post FreedomPop offers BYOD appeared first on AndroidGuys.
Apple Researching Temperature, Pressure, and Humidity Sensors for Mobile Devices
A pair of patent applications published today by the U.S. Patent and Trademark Office and spotted by AppleInsider describes how an electronic device such as an iPhone, iPad or even a wristwatch could be used to detect ambient conditions such as temperature, pressure, humidity and sound. The applications appear just as Apple has been rumored to be incorporating such functionality into the iPhone 6, and the company’s rumored iWatch has also been said to include an array of sensors.
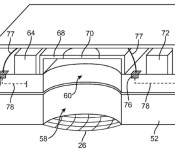
Cutaway view showing environmental sensors inside a mesh-covered recess in a device’s body
The first patent, titled “Electronic Devices With Environmental Sensors,” describes a device equipped with a speaker, microphone and a suite of sensors to monitor environmental conditions in the immediate surroundings. Sensor components may include a temperature sensor, a pressure sensor, a humidity sensor and other sensor combinations.
An electronic device may be provided with environmental sensors. Environmental sensors may include one or more environmental sensor components and one or more acoustic components. Acoustic components may include a speaker or a microphone. Environmental sensor components may include a temperature sensor, a pressure sensor, a humidity sensor, or other sensors or combinations of sensors for sensing attributes of the environment surrounding the device.
The second patent, “Electronic Devices With Temperature Sensors,” is more specific, covering electronic devices that can monitor ambient temperature. In this scenario, a thermal sensor could be embedded into a button, switch or slider component. A piece of thermally conductive metal could be used to transfer temperature data from the air or from an item such as a finger placed on the material to a sensor embedded within the device.
Though these are inventions and not a specific feature roadmap for future devices, they do suggest Apple is considering the ways in which sensors could be incorporated into a device to improve the overall user experience. For example, Apple could use the temperature sensor technology to build an iWatch that could warn you when you are starting to overheat while mowing the lawn in the high summer heat.
Looking beyond the patent applications, Apple has been hiring experts from the health and medical sensor field in recent years. The long list of new hires include former Philips sleep researcher Roy J.E.M Raymann, biosensor hardware engineer Nancy Dougherty, pulse oximetry expert Michael O’Reilly and others. These engineers allegedly are joining Apple to work on its iWatch team, which may also include exercise physiologists and other non-hardware experts.
Apple’s iWatch is rumored to include biometric functions such as pulse rate, blood oxygen saturation, glucose levels and more. Apple is said to be making the health-tracking experience more accessible to the general public and may use the iOS 8 Healthbook app to compile this health and fitness data and present it in a user-friendly way.![]()
‘Beats Music’ Tops App Store Music Chart as In-App Subscriptions Spark Interest [iOS Blog]
As noted by Billboard, the Beats Music app [iTunes] for the iPhone climbed to the top of the iOS Music charts on Wednesday, amid grumblings that the streaming music service is struggling to attract customers.
Founded by music producer Jimmy Iovine and Dr. Dre, Beats Music launched its streaming music service earlier this year, entering a crowded market that is dominated by Pandora, iHeartRadio, and Spotify. Beats has aggressively marketed its service, spending millions of dollars for a splashy Superbowl ad featuring Ellen Degeneres and recently partnering with AT&T Mobility to offer its service to AT&T’s 110 million mobile customers.
Beats Music has not released subscriber numbers, but sources for Billboard claim early subscriber estimates are “disappointing,” with numbers climbing only to the “low six figures.” These subscribers are an important metric as they represent the number of customers who exit the free trial and opt to pay for the service. In comparison, market leader Pandora has more than 3.3 million paying subscribers and 75.3 million active listeners.
Beats Music recently updated its streaming music app, allowing users to subscribe to the service via their iTunes account. Beats will be sharing its in-app revenue with Apple according to the App Store’s 70/30 split, but this loss in cash may be offset by an increase in subscriber numbers.
The ability to easily purchase a subscription within the iPhone app may have boosted interest in the service causing it to climb up the App Store charts. Not only is the Beats Music app number one in the free music category, it is also number 5 in the overall Top Free Apps chart and number 8 in the Top Grossing music category. This latter metric suggests more than a few customers are deciding to subscribe to the music streaming service using this new in-app option.
Besides the new in-app subscription, the updated Beats Music app also added support for Facebook friend search, an offline mode, artist promotional offers and more.![]()
Pioneer Talks CarPlay: Working with Apple, Pricing, and the Future
Following last month’s formal introduction of Apple’s CarPlay system for integrating iPhones with in-dash vehicle systems, there were some questions about whether the feature would be able to make its way to aftermarket products or if it would be limited to auto manufacturers putting it into brand-new vehicles. That question was answered earlier this month, with both Alpine and Pioneer announcing their plans to launch CarPlay-compatible systems.
Pioneer appears to be in the best position to move quickly with CarPlay, as its latest NEX systems already include CarPlay-compatible hardware, which will be enabled with a firmware update expected in early summer. In contrast, Alpine will not be launching its CarPlay support until the fall as part of new product debuts.
MacRumors recently spoke with Ted Cardenas, marketing vice president in Pioneer’s car electronics division, and he shared a bit of perspective about CarPlay and its development. Far from being taken by surprise by Apple’s CarPlay announcement last month, Cardenas notes that Apple signaled to Pioneer that there would be coming changes to in-car connectivity even prior to last year’s Worldwide Developers Conference, where Apple first showed what was then known as iOS in the Car as part of its iOS 7 preview.
According to Cardenas, development picked up in earnest in July of last year, with Apple putting together a dedicated team to help car manufacturers and aftermarket electronics companies build out their CarPlay support. Unsurprisingly, Apple took a fairly hands-on role in the process, sharing specifications and other information to assist Pioneer with its work.
Read more 
[VIDEO] UI Performance test between the HTC One M8 and Samsung Galaxy S5 is the test that we all want to See
The battle between Samsung and HTC flagship smartphones was first ignited between the Samsung Galaxy S4 and the original HTC One. Now, the battle has moved onto the Samsung Galaxy S5 and the HTC One M8, and the competition between the two is no less fierce. While the Galaxy S5 is predictably selling like hotcakes, the real question that Android buffs everywhere want answered is which device is definitively the best? Well, if we’re talking about performance and multitasking, Chris Nacca has put together yet another video as a UI performance test between the HTC One M8 and Samsung Galaxy S5; check out the video below:
As with Chris’ previous video comparing the Nexus 5 and Galaxy S5, the One M8 and the Galaxy S5 are very evenly matched when opening apps for the first time, however, the real difference becomes very obvious when trying to multitask. The One M8 is far quicker than the Galaxy S5 with the Samsung device even looking laggy when trying to multitask quickly. Probably even more notable for those choosing between the One M8 and Nexus 5 is that the One M8′s multitasking menu looks far more useful based on the demo in this video. The real moral of the story, however, is that while the Samsung Galaxy S5 is on paper a faster device, its UI performance is still inferior to that of the HTC One M8.
Sense 6.0: 1, TouchWiz: 0
What do you think about the UI performance of both these devices? Are you surprised by the findings, or is this pretty much what you expected? Let us know your thoughts in the comments.
Source: YouTube
Hale Dreamer Alarm Clock review

Up for review today we have the Dreamer Alarm Clock, by Hale. Billed as a “full-featured sleep system for your Android phone”, it’s a device that turns your smartphone into an alarm clock, charging it at the same time.
I am willing to bet that you plug your smartphone in at night and set it next to your bed before sleep. I am also guessing that you use the phone as an alarm clock, too. Chances are good you also like to play music or listen to podcasts in bed, right? Why not enhance that experience with something better sounding and more robust?
Taking the Dreamer Alarm Clock out of the box is a little strange at first, what with the cords sticking out and all. Sure, you’ve got the standard power cord that goes in the backside, but you’ll also find a 3.5mm cord and microUSB cord sticking out of the top. Not regular, slack cords, mind you but rigid ones designed to hold your smartphone in place. The idea is that you plug your phone in, turn on the alarm clock app, and enjoy music or head off to land of Wynken, Blynken, and Nod.
While the device measures roughly five inches deep by four inches tall and wide, much of it is used by the 2.25” mono 10w full-range hi-fi speaker. Is it loud? Yes, it most certainly is. If it’s next to your head then you won’t be playing it very loudly, but know that it has volume. It’s not the most rich sound but it’s more than what you’ll need.
The left side of the Dreamer Alarm Clock has a knob to adjust brightness while the right one manages volume. You’ll find out pretty quickly how you prefer your settings. With that said, both are plenty big enough to grasp in the middle of the night, without or without glasses/contacts.
The alarm clock app itself comes with a number of displays and ringtones; both cover a decent range of offerings to suit to taste. There’s also a great lullaby option that you can play for a set amount of time which pipes ambient noise such as trickling streams, rain, pink noise, fireplace, and “traffic” from a city. These are all nice to play as you drift toward R.E.M. sleep.
As you might expect, the app has a number of configurable settings for repeating on specific days or patterns. Like to wake up at 7:00AM on a Monday-Friday but prefer to sleep in on the weekends? No sweat.
The top of the Alarm Clock unit has a handful of buttons which come in handy should you opt for playing music through the device. I configured mine to play Google Play Music but you can pick just about an media application around.
If you’re the type who can’t sleep through the night without being bothered by texts or alerts you might like the SmartSilence feature. Users can configure settings to allow for only select contacts to ring through to disturb your slumber. Anyone who isn’t on your white list is blocked and receives an automatic reply. Not to worry, though, the message does ask if it’s an emergency and provides steps on how to ring through to you. This way, you’re not getting random text messages from people trying to get you out at all hours of the night. Unless, of course, you want only those people to contact you. Otherwise, you can also set it so nobody gets you on the first attempt, not even mom.
The Hale Dreamer Alarm Clock is $79.99 with availability through Amazon and Hale Devices.
The post Hale Dreamer Alarm Clock review appeared first on AndroidGuys.
New Amazon smartphone rumors spell out gestures, tilting, and more

It seems the Amazon smartphone is getting yet more details in the latest leak and the 3D effects were just that start of Amazon’s plans to bring something new to an already crowded market.
Unsurprisingly, the Amazon smartphone will run a heavily customised version of Android just like their Kindle range, but will come packed with exclusive features not yet seen on a device of this sort.
The Amazon smartphone will feature four low-powered infrared cameras on the face of the device which will be used to track the users facial position in relation to the device. This will enable users to navigate through apps and integrate with the device in a way which has never been seen before.
Amazon plan on using this combination of hardware to build in a feature where you tilt the device to reveal additional information on the screen. This could include revealing labels beneath icons, Yelp ratings appearing on map searches, and IMDb ratings on top of movie thumbnails.
it seems like Amazon are certainly exploring the options of new ways of interacting with devices, and whilst it’s uncertain at this point just how novelty these new features will be, it certainly is interesting nonetheless.
SOURCE: BGR
The post New Amazon smartphone rumors spell out gestures, tilting, and more appeared first on AndroidGuys.




