iPhone 5s and iOS 7 Rank Highly in Top Google Searches of 2013
Google has released its annual Google Zeitgeist feature highlighting popular and trending searches for 2013 in various categories. As usual, several Apple-related terms rank highly among most popular searches for the year, led by “iPhone 5s” at #3 and “iOS 7″ at #11.
Rounding out the list of Apple products included in the main list was “iPad Air”, which took the 68th spot among most popular searches. Other popular tech products included Samsung’s Galaxy S4 in eighth place, PlayStation 4 in ninth, and Xbox One in 19th.
Google also includes a number of rankings broken down by category and geography. In the United States, for example, the trending tech gadgets category was led by the PlayStation 4 and Samsung Galaxy S4, but Apple took the next four spots with iPhone 5s, iPhone 5c, iPad Air, and iPad mini. Even the iPhone 6 made an appearance in tenth place among trending tech gadget searches for 2011.![]()
KUBI telepresence robot arm for tablets now shipping, starting from $399
It was almost a year ago when we checked out Revolve Robotics’ KUBI, a motorized tablet cradle that lets you remotely pan and tilt your device — via an iOS app (Android version coming soon) or web portal — during video calls. After missing its summer launch window, this US-made telepresence robot is finally shipping to its Indiegogo backers starting this week. Those who want in now can also order one through the company’s website, albeit at much higher price points: the KUBI Hacker Edition for developers costs $399, whereas the prettier but otherwise identical KUBI Classic (pictured above) is asking for a steep $499 — almost twice as much as the original intended price due to a change in tooling, for the sake of speeding up production.
If you’re really desperate for a Bluetooth LE robot arm for your tablet, order soon — delivery is expected within three to four weeks. For now, you can get a glimpse of the first few KUBIs off the production line in the short clip after the break.
Filed under: Robots
Source: Revolve Robotics
Google and HP recall overheating Chromebook 11 chargers
Google and HP may have already put the brakes on Chromebook 11 sales due to overheating chargers, but there are many Americans who still own the risky equipment. Accordingly, the two companies have just issued an official recall for all 145,000 adapters in the US; owners now have to contact Google for a free replacement and stop using the flawed gear. There’s still no word on just when Chromebook 11 sales will resume, although the existence of a fixed charger suggests that the 11-inch system will return to shelves in the near future.
Filed under: Laptops, Google, HP
Source: CPSC
Engadget Giveaway: win an iPad mini courtesy of Numbridge!
The holidays are upon us and the New Year is rapidly approaching, so it’s probably time to ditch the cryptic text messages and get on the horn for a proper chat with friends and family. The folks at Numbridge are offering some incentive for those who choose nice over naughty by giving away a svelte new iPad mini with Retina display to one lucky reader. Numbridge is the iPhone and Android app that’s “redefining proximity” by making all international calls into local ones and freeing you from WiFi and broadband dependence. The rates are said to be some of the lowest on offer, with access to 50 countries around the globe, smart caller ID and even local callback numbers. So while you’re listening to that distant relative tell the “longest story ever,” you could also be enjoying a session of Plants vs. Zombies 2 on one of Apple’s latest slates — just don’t forget to turn the sound off! All you need to do is head to the Rafflecopter widget below and enter for your chance to win.
The Rules:
- Entries are handled through the Rafflecopter widget above. Comments are no longer accepted as valid methods of entry. You may enter without any obligation to social media accounts, though we may offer them as opportunities for extra entries. Your email address is required so we can get in touch with you if you win, but it will not be given to third parties.
- Contest is open to all residents of the 50 States, the District of Columbia, and Canada (excluding Quebec), 18 or older! Sorry, we don’t make this rule (we hate excluding anyone), so direct your anger at our lawyers and contest laws if you have to be mad.
- Winners will be chosen randomly. One (1) winner will each receive one (1) iPad mini with Retina display – WiFi, 64GB, Black (ME278LL/A)
- If you are chosen, you will be notified by email. Winners must respond within three days of being contacted. If you do not respond within that period, another winner will be chosen. Make sure that the account you use to enter the contest includes your real name and a contact email or Facebook login. We do not track any of this information for marketing or third-party purposes.
- This unit is purely for promotional giveaway. Apple, Numbridge and Engadget / AOL are not held liable to honor warranties, exchanges or customer service.
- The full list of rules, in all its legalese glory, can be found here.
- Entries can be submitted until December 18th at 11:59PM ET. Good luck!
Filed under: Announcements, HD, Mobile, Alt, Apple
Alcohoot smartphone breathalyzer shipping now for $119
It’s no match for knocking back a few Diet Cokes in lieu of libations before getting behind the wheel, but if you can’t avoid having a beer or two before driving home, getting a read on your blood alcohol content is an absolute must. Alcohoot, a smartphone-powered breathalyzer, will help you gauge your BAC and put a stop to further consumption before things get out of control. The $119 device, which boasts “police-grade accuracy” and plugs into your handset’s headphone jack, is shipping now.
Alcohoot is significantly pricier than competing products, such as the $49 Breathometer, but co-founder Ben Biron promises professional accuracy, assuming you keep up with the requisite annual calibration (to speed things up, you’ll get a new device each year with a shipping label to return the old gear, for a $30 fee). The bundled Android and iOS apps will show you open restaurants within walking distance so you can soak up that booze with some greasy grub, a link to Uber and even a tool to track your consumption throughout the night — though nothing quite spoils the mood like whipping out a breathalyzer after every drink.
Filed under: Cellphones, Household, Mobile
The original Tomb Raider is now available on iOS for $1

Perhaps you saw the lush TressFX in the latest Tomb Raider game and thought, “Man, I’d sure like to go back to the way things were, back when Lara Croft’s hair was little more than a brown object affixed to her polygonal face!” Well you’re in luck, as Square Enix today re-released the original 1996 version of Tomb Raider, rough edges and all, on the iOS App Store. Better still? It’s just $1 — about the maximum we could see ourselves paying for a near 20 year old game.
As for how easy you’ll find guiding Lara through the tombs she’s known to raid, that’s another question altogether: screenshots show a mess of contextual on-screen virtual buttons as the means of control (or perhaps as an attempt at control). Even if it’s unplayable, the most money you could waste is a single bank note — not exactly what we’d call a risky proposition.
Filed under: Gaming, Handhelds, Software, Mobile
Via: Joystiq
Source: iTunes
Samsung debuts redesigned GamePad controller for smartphones
Samsung has introduced a new version of its GamePad game controller for Galaxy and other smartphones. Things look strikingly different than the first generation and now feel considerably less like an XBOX 360 controller. Color has switched from white to black and the analog sticks are now concave instead of convex. What’s more, the buttons have gone from the traditional ABXY layout to dots numbering 1-4.
The GamePad can work with any Android smartphone ranging in sizes of 4-inches to 6.3-inches. You will need Android 4.1 Jelly Bean or newer; NFC-ready Galaxy handsets with Android 4.3 can pair automatically.
Samsung is also introducing a new Mobile Console app which curates a list of compatible games to browse and/or purchase. At launch there are 35 games but Samsung says there’s “much more to come in 2014.” Samsung is selling the GamePad in some European markets and will be available in additional regions in the coming weeks. Pricing is not immediately clear.
The post Samsung debuts redesigned GamePad controller for smartphones appeared first on AndroidGuys.
Facebook confirms video ads in feeds for mobile
Facebook on Tuesday confirmed that “a small number of people” will begin to see video ads in their social media feed. Indeed, this is for both the desktop as well as the mobile experience.
According to Facebook, the videos will automatically play as they appear on screen, but sound is muted. Tapping or clicking the video will open it full screen where the audio will also play.
For those worried that Facebook will chew up your data plan with advertisements, the online giant says they are downloaded via Wi-Fi in advance. This way, you’ll get the ads even when you’re offline. A real bonus, no?
// <![CDATA[
(function(d, s, id) { var js, fjs = d.getElementsByTagName(s)[0]; if (d.getElementById(id)) return; js = d.createElement(s); js.id = id; js.src = "//connect.facebook.net/en_US/all.js#xfbml=1"; fjs.parentNode.insertBefore(js, fjs); }(document, 'script', 'facebook-jssdk'));
// ]]>
The post Facebook confirms video ads in feeds for mobile appeared first on AndroidGuys.
Now TV’s ‘Sky Sports’ Channel Comes to Apple TV in UK [iOS Blog]
Apple TV users in the United Kingdom gained a new channel today with the addition of Now TV‘s “Sky Sports”, notes Pocket-lint. The channel allows users to purchase £9.99 day passes providing access to six different Sky Sports channels.

If there is a particular sporting event you want to watch, you can purchase a Sky Sports Now TV Day Pass through the app which will unlock all six Sky Sports channels for 24 hours. A Day Pass costs £9.99 and although that might seem hefty in comparison to a monthly Sky Sports subscription through Sky, Virgin Media or other TV services, it’s great for those who don’t want a regular contract and really only want to watch a Formula One race or cricket test match, for example.
Apple has been making regular updates to its Apple TV content offerings over the last six months, and just last week added support for ABC, Bloomberg, Crackle, and KORTV in the United States, with several of the channels available in other countries as well.
(Thanks for the photos, Henry!)![]()
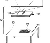
Wireless Computer System with Integrated Smart Projector Detailed in New Apple Patent
Apple has been awarded a patent by the U.S. Patent and Trademark Office (via AppleInsider) detailing a wireless “desk-free” computer system that consists of only a computer housing with a built-in unique smart projector including advanced capabilities.
The patent, which was filed in 2008, details a computer system housing a unique projector with advanced technology that would hold the same power as a desktop or laptop. The smart projector would also allow the “computer” to be set up anywhere, allowing any suitable surface to be used for a display screen.

The computer systems and methods described herein may achieve a synergy that is not possible with conventional computers and projectors, which may be realized in terms of the operating system, system interaction, and/or performance. This may stem, for example, from the computer system’s knowledge of the computer system’s projection output and the surface on which it is projecting. The operating system may be designed to include larger icons and/or text and/or a different style based on the knowledge that the user is likely further away from the displayed image than conventional computer experiences.
In detail, the projector would also be configurable to run solely for certain purposes, such as turning off all components except the DVD drive and the projector to run as a mobile cinema, or turning off certain components to run like a normal computer. The projector itself would also be able to automatically calibrate and perform keystoning on itself to provide the best picture possible based on sensor data, even going as far to color correct and discard lesser pixels to display a high-resolution image.
Meanwhile, Apple describes the computer system as also allowing for peripherals such as a wireless mouse or keyboard to be connected, with the device as a whole being powered in a number of potential ways, such as having a single power cord to connect to a power supply or through the inclusion of an inductive wireless charge system or integrated batteries.
It is unknown whether Apple plans to create such a product or not, but the company has researched unique projector technology before. A patent in 2011 revealed the company’s interest in developing a pico projector that would be able to take advantage of built-in cameras to automatically recognize and adjust gestures and shadows, which would result in interactive uses for situations such as presentations. Apple also currently includes a section for presentation accessories in its online store, where it sells various projectors from manufacturer Epson.![]()






















