Double Dragon Trilogy punches its way to Android and iOS (video)
Many gamers of a certain age (cough) spent entirely too much time fighting Abobo and pals in the Double Dragon series. If you’re one of them, you’ll be glad to hear that DotEmu has released its promised Double Dragon Trilogy for both Android and …
Quip’s mobile-native word processing comes to Android
Quip’s built-for-mobile word processor has at last reached Android. The newly available app mirrors much of what we’ve seen in the iOS version, including adaptive documents, cloud syncing and deep collaboration tools that include messaging and ima…
Google now lets you download your Gmail and Calendar data
Sure, if you delve far back enough into your Gmail history, you’ll likely find some conversations you’ve been happy to forget, but remembering that job offer/email from grandpa/successful eBay bid is sure to brighten your day. Starting today, Goog…
AT&T Launching New ‘Mobile Share Value Plans’ with Monthly Discount, 18-Month ‘AT&T Next’ Option
AT&T has announced that it will be introducing new “Mobile Share Value Plans“ on December 8, which includes an option for no annual contracts that brings a $15 monthly discount to shared data customers that meet one of four requirements. The requirements include getting a…
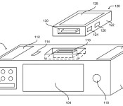
Apple Files Patent for ‘Smart Dock’ with Voice Recognition for Devices
Apple has filed for a United States patent detailing a smart dock that would allow users to access voice recognition functions such as Siri once a compatible device is connected, reports AppleInsider. The patent describes the dock as composing of multi…
Fleksy predictive keyboard for Android exits beta, multilingual support and iOS integration in the pipeline
Almost a year after it made its debut, Syntellia’s Fleksy keyboard for Android is finally out of beta. It actually arrived on Google Play six months ago, but was only available to those who joined the company’s Google+ community as testers. Now …
GameStick lands first major publisher deal with Ubisoft
When we reviewed the GameStick Android console, one of our main concerns was how the library of titles on offer would pan out over time. Today, it’s just been announced that Ubisoft will be bringing its Prince of Persia franchise to the platform. …
Medium brings design and photo improvements to its social publishing platform
Medium is debuting a slew of new look-and-feel tweaks designed to let would-be columnists pretend they’re working for a well-designed print publication. The site says that one of its initial goals was to empower writers with “dead simple” tools to…
ASUS’s PadFone Mini edges closer to release following global certification
ASUS’s PadFone hybrid Android tablet/phone series, weird as it is, seems to have found itself a niche. As such, the Taiwanese outfit looks ready to launch a new model, the PadFone Mini, according to a listing in the Global Certification Forum (GSF…
AT&T will shuffle Mobile Share pricing and begin discounting out-of-contract plans next week
Whether or not you buy into T-Mobile CEO John Legere’s UnCarrier strategy, we can’t dispute the fact that it’s at least making waves in the US wireless industry. Some of the network’s biggest competitors are responding with new strategies of their…



