[E3 2014] New gameplay trailer for Magic 2015 – Duels of the Planeswalkers Released
Earlier this year, it was announced that Wizards of the Coast would be renewing their Magic the Gathering game for yet another year, launching sometime this summer on Xbox One, Xbox 360, PC, iPad, Kindle and Android. Magic 2015 – Duels of the Planeswalkers will feature one of the most feared hunters in the Magic universe, Garruk Wildspeaker, who has started hunting Planeswalkers which includes you, the player, as well. To help kick off the E3 2014 festivities, Wizards of the Coast have released a new gameplay trailer to show us what this year’s iteration of the game is going to look like:
Compared to last year’s version (which you can read our full review for here), it looks like Magic 2015 is benefiting from an improved interface as well as more intricate animations, which adds to the whole experience. Much of the features from last year’s version look to be returning, including a very hefty story mode, a deck customizing/building mode, as well as 2v2 multiplayer (and hopefully this year, multiplayer on the Android version won’t be limited to just local games).
It’s shaping up like a worthy successor to the franchise; who’s looking forward to Magic 2015 – Duels of the Planeswalkers? Let us know if you are in the comments
Google tweets a picture of a new unknown phone

Google is promoting Google Now and its features via Twitter, but they’re doing it on an unknown device. This of course couldn’t be an accident, so… let the speculation begin.
The phone looks kind of similar to the Nexus 5, but not quite. It’s quite beautiful if you ask us, simple and yet compact, considering it has those gorgeous thin bezels on the sides similar to LG G3. There are 3 options in our opinion. It is a new Nexus 6, Motorola Moto X+1 or an Android Silver phone. We can’t be sure at this point, but our guess is that it’s not the Moto X+1 considering that Google sold Motorola to Lenovo, so it’s unlikely they would promote a Motorola device. Which leaves us with Nexus 6 or an Android Silver phone. We can’t be sure which one considering that there’s been reports that the Nexus program will be replaced by Android Silver. We’ll also go out on a limb here and guess it’s an LG phone, it looks like something between the Nexus 5 and LG G3.
What is your guess? Do you like the phone’s look?
SOURCE: Google (Twitter)
The post Google tweets a picture of a new unknown phone appeared first on AndroidGuys.
Nexus 5 reduced to £250 in the UK

If you were on the fench about buying a Nexus 5 then a recent price reduction in the UK may tempt you into hitting that purchase button.
The 16GB Nexus 5 is now on sale for £249.95 on the Google Play Store in all available colours.
Featuring a 1080p display, 2GB of RAM and a Snapdragon 800 processor, you’ll get a lot of phone for your £250.
Will you be picking up a Nexus 5 at this price?
The post Nexus 5 reduced to £250 in the UK appeared first on AndroidGuys.
Sky Sports 5 launches as a dedicated channel for European football
Sky may have lost its crown jewels to BT Sport, but the company isn’t prepared to sit idly by in its last year as the UK’s top football dog. The broadcaster is launching Sky Sports 5, with an offer of two years free broadband to any and all Sky Sports customers. The seventh Sky Sports channel will be geared towards European football, including the Champions League, Spanish and Italian domestic cups, as well as the Dutch Eredivisie. The channel will launch on August 12th, and will also be available to customers who subscribe through Virgin Media. What was it they said about “the enemy of my enemy is my friend?”
Filed under: Home Entertainment, HD
Source: Sky
370-inch TV costs more than the mansion you’d need to house it
What will Panasonic make of this, then? The Japanese manufacturer’s enormous 152-inch 4K set has been superseded by a rival giant — the “Titan Zeus” — which is more than four times the size and triple the price. At a cost of £1 million sterling ($1.6 million), the Zeus also promises a full 4K resolution, but this time stretched out across a 370-inch (8m by 5m) panel that is said to be suitable for both indoor and outdoor domestic use. We can’t really comment on the design or image quality, however, because there are no photos or video showing the mythologically-confused TV in action. The company tells us this is because its first and only private customer for the Zeus has asked for their installation to be kept confidential. Then again, similar sets from Titan have been widely used at public events (such as the Xbox gathering shown above). You’ll also be able to see a second Zeus on show at the Cannes film festival this year, put up by Curb Media in order to display World Cup action at the size of an actual football goal.
Filed under: Home Entertainment, HD
Via: Pocket-lint
London’s Tube stations to serve up live World Cup scores alongside train times
There’s going to be no escaping the World Cup when travelling on the Tube over the coming weeks. To supplement Virgin Media’s WiFi hotspots, which’ll let you check scores on your phone, ESPN has linked up with Transport for London (TfL) to bring scrolling news, results and score updates to platform screens and entrances in more than 140 stations. The sports broadcaster is said to have stumped up around £100,000 for the privilege, and will kick off proceedings on June 12th, when hosts Brazil meet Croatia, continuing until July 14th, the day after the World Cup final. If you find yourself heading out in London to catch some of England’s late-night matches, you’ll almost certainly be reminded of the team’s performances (whether they’re good or bad) on your way home.
[Image credit: Transport for London, Flickr]
Filed under: Transportation
Source: ESPN FC
Adorkable is a real word now, and it’s all your fault
A few weeks ago, we brought you news of #Twictionary, a poll to determine which internet-created term would be included in the twelfth edition of the Collins Dictionary. Now that voting has ended, the Twitter-loving lexicographers can reveal the neologism that the general public has elevated to an actual word: Adorkable. Yup. On the upside, it looks as if our readers were of a similar mind, since Adorkable came in second place on our poll… only 34 percent behind first-placed “None of these.”
Filed under: Internet
Source: Collins
Apple Granted Patent for Weightlifting Tracker That Utilizes Watch-Like Device
Apple has been awarded a patent by the U.S. Patent and Trademark Office (via AppleInsider) that details a weightlifting tracker that could pair with a watch-like device to provide live progress-tracking to users, offering a potential scenario where Apple’s highly-rumored iWatch could be used.
The patent details how a transmitter could attach itself to a weightlifting bar to count repetitions in real time. The transmitter itself is described as having a number of components, including an accelerometer, processor, Hall effect sensor, and display. While some scenarios describe the sensor as showing live information all by itself, a few note that the small beacons could transfer data to devices such as a watch or phone.
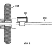
A sensor (500) shown on-top of a body bar
In one embodiment, display 512 is part of a watch (or a MP3 player or a cell phone) that may be seen when worn or used by the user when performing exercises; and measurements determined by processor are transmitted to the watch (or to the MP3 player or cell phone) for display.
In a situation where data is transferred to a watch, the patent notes that the watch’s housing could include a processor to store data and inform the user of repetitions for workouts over time. This would allow the device to breakdown a user’s workout with the use of multiple sensors, even giving information about the body bar or other equipment used.
Whether Apple integrates the technology described in the patent into a specific product remains to be seen. However, recent reports surrounding the iWatch have described the device as having a multitude of biometric sensors to track a number of health-related metrics, including activity levels.
Furthermore, it is likely that the iWatch will integrate with iOS 8′s recently introduced Health app, which provides an easy to read dashboard of health and fitness data that can be pulled from different sources. Apple also debuted a new TV ad called “Strength” last week that focused on fitness accessories and apps.
Apple’s iWatch is expected to launch later this year, with a recent report stating that the company is aiming for an October unveiling and release date.![]()
Twitter users will pick the Man of the Match during World Cup games
When a football soccer player wins a Man of the Match award, it’s a recognition of their achievements during a particular game. Commentators and other pundits are often asked to decide which of the 22 players deserves that prestigious honor, but when it comes the biggest soccer show on earth, corporate sponsors have more of a say. During the 2014 World Cup in Brazil, Budweiser, the tournament’s official beer provider, will look to Twitter for inspiration. Four years ago, you may have cast your vote for the best player via the FIFA website, but this time around this Budweiser is hoping it can increase interaction with fans by getting you to cast your vote using the popular social network. At the start of the second half of each game, Twitter voting will open. You’ll then be able to click on a photo of your chosen player and register your choice using the dedicated #ManOfTheMatch hashtag. Are Twitter users representative? What if they’ve been drinking when they vote? Could it be open to abuse? Who knows, but maybe it’s worth noting that the selection process hasn’t always been totally transparent.
Filed under: Internet
Source: Fox Sports
Wearable sensor can tell you when you’re dehydrated
Summer is the ideal time to frolic out in the sun, but there’s always the risk that you’ll neglect the amount of water that you’re taking in. Sandia National Laboratories is hoping to put an end to that, after designing a wrist-worn sensor that lets you know when you’re dehydrated. An array of micro-needles on the underside of the watch-like device sticks into your skin to measure your interstitial fluid levels — broadly speaking, the water that sits between your cells. Whenever this figure falls below the safe limit, you’ll be alerted to go hit the bar, a technology that could revolutionize sports and military science, as well as help monitor patients in hospitals. The lab is currently touting the sensors for commercial application, so let’s start petitioning our smartwatch maker of choice to add it into their next-generation wearable.
Filed under: Wearables
Via: TechCrunch
Source: EurekAlert









