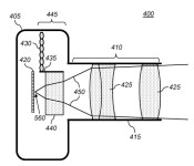
Apple Awarded Patent for Refocusable Camera with Light-Field Technology
Apple has been awarded a patent by the U.S. Patent and Trademark Office (via AppleInsider) for a digital camera including a refocusable imaging mode adapter, with the document also discussing the potential use of a similar camera system in a device lik…



