Budget 4G LTE Lenovo smartphone slated for announcement at CES 2015
Lenovo has announced that they’ll be showcasing a brand new, aggressively priced LTE smartphone at CES next month for Indian markets. They did reveal that the device will be powered by Snapdragon’s 410 CPU, but everything else is still up in the air. There’s always a chance it could end up being a rebranded Lenovo K3 specifically for India, but we’ll know for certain in a few weeks.
The Indian smartphone market is one of the hottest points of competition for Android OEMs, and now that 4G is becoming more widely available, the manufacturers are rushing to push LTE radios in extremely affordable phones.
source: Fone Arena
Come comment on this article: Budget 4G LTE Lenovo smartphone slated for announcement at CES 2015
VLC Developer Confirms iOS App Will Relaunch in Early 2015 [iOS Blog]
Felix Paul Kuehne, lead developer for the iOS and OS X version of popular video player app VLC, has confirmed that VLC for iOS should be available again soon in the iOS App Store (via Softpedia). The app will be returning after an almost four-month absence from the iOS platform.
VLC for iOS mysteriously disappeared from the iOS App Store following the release of iOS 8 in September of this year. VLC did not comment on the removal, only stating that it was “working with Apple on a solution” to bring VLC back into the App Store. After several months of silence, the company announced in early December that it was launching a semi-public TestFlight beta trial of the updated version of the app.
Addressing a recent complaint about the app still not being available, Kuehne wrote in a VLC forum post that, “It will be again, but probably early next year due to the iTunes Connect holiday shutdown.” He added on Twitter that the app will be back “Hopefully quite soon.”
@wayneh0813 @videolan hopefully quite soon 
— Felix Paul Kühne (@feepk) December 29, 2014
VLC recently released the TestFlight beta 2 version of VLC for iOS 2.4.0 with a handful of improvements. Based on Kuehne’s comments, soon everyone, not just beta testers, will be able download the version as a new app or an update for versions downloaded before the app was removed from the App Store. 
Samsung to shelve Galaxy Alpha and move to lower-cost models, report says

Samsung will stop selling the Galaxy Alpha once current inventory is depleted, according to a recent ET News report. Allegedly, Samsung will discontinue the higher-priced, more premium experience, in favor of lower-cost alternatives such as the Galaxy A5. Whereas the Galaxy A5 features some of the same materials and design characteristics as the Alpha, its lower-tier specs bring about a cheaper sticker price. The A5 is expected to launch with a cost of around $365 US.
Samsung has yet to officially make any claims or confirm the reports.
The post Samsung to shelve Galaxy Alpha and move to lower-cost models, report says appeared first on AndroidGuys.
FBI maintains that North Korea hacked Sony as detractors mount
Did North Korea’s government hack Sony Pictures? Though the United States government and FBI say yes, a growing chorus of detractors is pushing back on that claim. And the FBI is apparently listening: one firm, Norse, met with the FBI this past Monday to present its own claim that a group of six people were responsible. Moreover, at least one of those six is said to be an ex-Sony employee, reports Politico.
Norse says its been looking into the attack on Sony Pictures since before Thanksgiving, and it presented the results of that research to the FBI yesterday. For its part, the FBI is sticking to its story — at least for now. “The FBI has concluded the Government of North Korea is responsible for the theft and destruction of data on the network of Sony Pictures Entertainment. Attribution to North Korea is based on intelligence from the FBI, the U.S. intelligence community, DHS [Department of Homeland Security], foreign partners and the private sector,” an FBI statement provided to media reads.
Norse senior VP Kurt Stammberger says that his company traced at least part of the attack to a single former employee, known as “Lena”, who apparently had direct knowledge of the network infrastructure at Sony Pictures. The video above, from CBS Evening News with Scott Pelley, goes into more detail about the alleged former employee.
In a related report, Reuters spoke with an unidentified US official who’s close to the government’s investigation of the Sony Pictures attack. The source said the US government now believes that North Korea “likely” worked with outside parties to launch the attack. It’s not clear if the source is referencing an outside government or other party, just that the act may have been “contracted” out.
Taia Global, another security firm, analyzed 20 messages internal to the alleged hacking group (the “Guardians of Peace”) responsible for the attack on Sony Pictures. The firm determined, through “Native Language identification and L1 Interference analysis,” that the primary language of the hackers was likely Russian. Here’s Taia Global’s statement:
“We tested for Korean, Mandarin Chinese, Russian, and German using an analysis of L1 interference. Our preliminary results show that Sony’s attackers were most likely Russian, possibly but not likely Korean and definitely not Mandarin Chinese or German.”
So, who hacked Sony Pictures?
Filed under: Networking, Internet, Software, HD, Sony
Gmail service sees partial restoration in China
It appears that Gmail service has been partially restored in China. It was reported yesterday that the Chinese government was blocking access to the service through third-party apps, while the Gmail website has been blocked for years. While many are reporting that service has been restored, others are still experiencing delays or outages.
From the Financial Times:
The episode ended as mysteriously as it began — users of Gmail via POP and Imap servers, who had been frustrated for days trying to send and receive email, suddenly saw their inboxes full again, though some were still reporting delays in receiving emails and others said that their service had not returned.
According to Google’s Transparency Report, Gmail traffic in China has experienced a small but noticeable uptick since this morning. Today’s rise in traffic is the first noticeable movement since the outage began a few days ago.
Source: Financial Times
Gmail service sees partial restoration in China
It appears that Gmail service has been partially restored in China. It was reported yesterday that the Chinese government was blocking access to the service through third-party apps, while the Gmail website has been blocked for years. While many are reporting that service has been restored, others are still experiencing delays or outages.
From the Financial Times:
The episode ended as mysteriously as it began — users of Gmail via POP and Imap servers, who had been frustrated for days trying to send and receive email, suddenly saw their inboxes full again, though some were still reporting delays in receiving emails and others said that their service had not returned.
According to Google’s Transparency Report, Gmail traffic in China has experienced a small but noticeable uptick since this morning. Today’s rise in traffic is the first noticeable movement since the outage began a few days ago.
Source: Financial Times
Deal: Amazon is offering a discount of up to 73% on SanDisk memory cards
If Santa brought you a shiny, new Android smartphone or tablet this holiday season and you’re looking to stock up on some extra storage, now’s as good a time as any as Amazon has just kicked off a one-day flash sale on SanDisk memory cards and USB flash drives.
Here’s what’s on sale:
- SanDisk Cruzer Force CZ71 16GB USB 2.0 Flash Drive With Metal Casing for $7.99 (73%)
- SanDisk Cruzer Force CZ71 32GB USB 2.0 Flash Drive With Metal Casing for $12.99 (68%)
- SanDisk Ultra 16GB Class 10 SDHC Memory Card Up To 40MB/s for $8.99 (47%)
- SanDisk Ultra 32GB Class 10 SDHC Memory Card Up to 40MB/s for $12.99 (57%)
- SanDisk Ultra 64GB Class 10 SDXC Memory Card Up To 40MB/s for $27.99 (60%)
- SanDisk Ultra 16GB UHS-I/Class 10 Micro SDHC Memory Card Up To 48MB/s for $9.99 (41%)
- SanDisk Ultra 32GB UHS-I/Class 10 Micro SDHC Memory Card Up to 48MB/s for $12.99 (61%)
- SanDisk Ultra 64GB UHS-I/Class 10 Micro SDXC Memory Card Up to 48MB/s for $24.99 (62%)
- SanDisk Ultra 128GB UHS-I/Class 10 Micro SDXC Memory Card Up To 48MB/s for $89.99 (31%)
Source: Amazon
Come comment on this article: Deal: Amazon is offering a discount of up to 73% on SanDisk memory cards
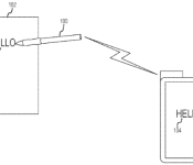
Apple’s ‘Communicating Stylus’ for Capturing Digital Versions of Handwritten Notes Wins Patent
Apple today was awarded a new patent by the U.S. Patent and Trademark Office that concerns a new type of digital stylus that translates a user’s handwritten note into a digital version when connected to a smartphone, tablet, or any “digital computing device” (via Apple Insider).
The patent also details various exchangeable tips for the stylus, including actual ink, markers for a whiteboard, or a rubberized nub akin to most popular tablet styli. The stylus activates when various motion-sensing hardware, including accelerometers, detects when the pen is picked up out of its dock, pressed to a writing surface, or simply turned on manually.
Thanks to motion sensors able to detect a 3D plane, the stylus uses an initial zero point to transmit the movement and flow of handwriting as varying changes in position to the desired computing device. This technology also means an actual surface isn’t needed to transmit data — simply writing notes in the air would suffice. The patent even details ways for users to choose how the data is transmitted, including continuously or at chosen intervals, allowing battery life to be preserved.
As noted by Apple Insider, there are many practical solutions for Apple’s new patent. The pen allows a user to display their writing on multiple displays, a possible solution for work meetings and classrooms. It could also be a digital solution for note-taking, as the user would take notes with the pen on a paper tablet, and a digital copy would be sent to a phone or tablet tucked away in a bag. The automatically produced digital backup could then be more easily edited and shared.
The patent isn’t exactly new, being initially filed nearly five years ago in January of 2010, and is by no means a confirmation that Apple will be moving forward with a smart stylus of any kind. But, like most patents, it is an interesting glimpse into what possibilities the company is looking into for the future.
HTC Hima appears in AnTuTu with Snapdragon 810, 3GB RAM, & 1080p display

Rumors are abound about the status of HTC’s next flagship, the HTC Hima, also known as the M9.
According to Digital Trends, Upleaks stated the Hima may arrive on the four major carriers in March 2015. It also claimed the announcement of the device would not occur at Mobile World Congress that same month. Potentially, HTC may hold its own independent event for the smartphone.
On the other hand, Nowhereelse.fr writer Steve Hemmerstoffer tweeted a leaked press release showing the HTC Hima would arrive instead at CES 2015 in January.
There is no confirmation yet on the authenticity of the rumors or the press release.
There is also a bit of speculation that the HTC Hima and M9 are actually separate devices. Between the two, the Hima would be the flagship with a slightly larger screen and marginally better specs.
Still, the device is likely to have at least a 5.0-inch 1080p display, 3GB of RAM, a Snapdragon 805 or 810 processor (the latter matching an AnTuTu benchmark supposedly of the device), and a 3,500mAh battery. Of course, BoomSound speakers and a uni-body, metal casing are expected.
Source: Digital Trends
The post HTC Hima appears in AnTuTu with Snapdragon 810, 3GB RAM, & 1080p display appeared first on AndroidGuys.









