GameFace Mark IV: The other VR headset at CES 2014 (hands-on)
After all the time we’ve spent with Oculus VR’s latest Crystal Cove prototype last week — our first Best of CES award winner! — you might think we’re all VR’d out. You’d be wrong, and when the folks at GameFace Labs offered us a chance to check out their Android-based, standalone VR headset, we jumped at the chance.
The Mark IV model of GFL’s unnamed headset is a 3D-printed proof of concept, and it serves that goal fantastically. We put on the headset, were handed a paired Bluetooth gamepad (Sony’s DualShock 3) and were instantly transported to a lower-res version of the Tuscany demo we’ve seen running previously on the Rift. Only there’s one major difference here: no wires.
Pushing one of three front buttons on the outside of the headset, we jumped back out to a basic (placeholder) app grid where a handful of demos were selectable. Using the DualShock 3, we next jumped into a roller coaster demo where disorientation hit an all-time high — it was the first time this writer’s ever felt nausea while playing any VR demo.

That disorientation may be a standard of GFL’s VR headset, at least for now…and it’s kind of not their fault. The act of standing up and using a VR headset, untethered, is extremely scary. With a VR headset strapped on, there’s no way to re-center yourself in reality. After moving around, the only way to figure out where you are (again, in real life) is by removing the headset. By that point, you’re feeling really disoriented. Or at least we did.
All that said, it’s incredible using a VR headset without even one wire running out of it. The model we tried had a Tegra 4 powering games, meaning stuff like Dead Trigger and the Tuscany demo rarely hitched, or tore, or any other issues we’d expect to see with a low-horsepower device. A 5.2-inch LED panel with 1,920 x 1,080 resolution is cradled inside the headset, though a larger size is in the works. The folks at GFL are also planning on building out an Android VR store to support the headset, as playing games on the scale of the Oculus Rift simply isn’t possible (which makes sense, given that the Rift is powered by your PC).
But that’s okay, because for now, operable VR is impressive enough to circumvent graphics complaints. A platforming demo really sold us on GFL’s headset: a snaking, thin platform must be navigated, and the DualShock 3 only controls forward momentum and jumping. To turn or look, you must physically move your head and body. Oh, and the world is floating in the sky — which is terrifying. That last bit cannot be overemphasized. Despite rough graphical chops, the sense of vertigo was nearly overwhelming.
GFL’s got big plans for the Mark IV, which includes retail availability by the end of this calendar year as the device goes from prototype to product. The company’s even in talks with NVIDIA to potentially incorporate its new K1 chip, which would assuredly add another layer or two of processing power and graphical chops (as well as Unreal Engine 4 support).
Filed under: Gaming, Peripherals, Wearables, HD, NVIDIA
Facebook increases focus on ‘conversations’ with purchase of Branch and Potluck
Facebook grew its ranks by 10 New Yorkers today, following an agreement to acquire Branch. Josh Miller and Cemre Güngör created the company in 2012 with financial support from Twitter co-founders Ev Williams and Biz Stone, and launched Branch, a social platform, alongside Potluck, a “web and mobile app designed for friends to hang out and talk about cool things they find online.” According to The Verge, the deal is valued at $15 million. Both products will now fall within the social giant’s umbrella, with the team forming a new Conversations group in New York City. Confirmed in a post from Miller, Branch and Potluck will “live on outside of Facebook,” with products resembling both of the existing platforms to come.
Filed under: Internet, Facebook
Via: Business Insider, The Verge
Source: Josh Miller (Facebook)
Samsung Galaxy Note 3 begins Android 4.4 KitKat rollout in Poland

Sometimes, even the most massive of updates have humble beginnings. This is the case with the Samsung Galaxy Note 3, a device that offered Android 4.3 Jelly Bean upon its debut. We all figured it was just a matter of time before an upgrade to 4.4 KitKat became available to users, and it appears Samsung is now ready to offer it — albeit, on a rather small scale starting in Poland. According to SamMobile, Polish Note 3 owners (for the Snapdragon 800 quad-core version, at least) can now sideload the update through the manufacturer’s Kies software. This is a pretty quiet and restrictive launch, so Samsung hasn’t officially made any announcements, but we have a feeling that the company’s limiting the rollout at first to ensure all of the possible bugs have been squashed prior to worldwide availability.
Filed under: Cellphones, Wireless, Mobile, Samsung, Google
Via: Ars Technica
Source: SamMobile
SimCity Getting Offline Mode Nearly a Year After Launch [Mac Blog]
EA is adding an offline mode to SimCity, nearly a year after saying it would require “a significant amount of engineering work” to do so. It should launch in the “near future”, according to EA.
SimCity launched on the Mac last August and immediately ran into a number of problems including installation issues and more, but they were resolved fairly quickly — particular in comparison to the extremely poor launch of SimCity on the PC.

SimCity‘s PC launch was more than a little rocky, largely because the game can only be played online. EA requires that the game be connected to its servers at all times. At launch, SimCity‘s servers were overwhelmed with traffic and the gameplay experience was extremely poor. Today, EA seems to have ironed out most of the bugs and users are playing the game as intended.
However, with offline mode “in the late phases” of development according to a post on EA’s SimCity blog, it remains to be seen if it is too little, too late, for the game’s fans.
Yes, Offline is coming as a free download with Update 10 to all SimCity players. When we launch it, all of your previously downloaded content will be available to you anytime, anywhere, without the need for an internet connection. We are in the late phases of wrapping up its development and while we want to get it into your hands as soon as possible, our priority is to make sure that it’s as polished as possible before we release it. So, until then… testing, testing and more testing. As one of the final steps, we’re putting Offline into the hands of some of our most hardcore players, the DevTesters. This group of volunteers is going to put Offline through its paces before we release it.
In Update 10, you can still play solo in Regions on your own, or in Multiplayer with people from around the world. What’s new is the Single Player Mode, which allows you to play the game Offline by yourself. And because your saved games in this mode are stored locally, you can save and load to your heart’s content. Our team will be delivering a follow-up blog that will outline the full details in the near future so stay tuned.
SimCity is available through EA’s Origin store at $40 for the standard game, or $60 for a Deluxe Edition that includes additional content. Purchases cover both PC and Mac platforms.![]()
Apple Interested in Liquidmetal Alloys for Home Buttons, Touch Sensors, and Tamper-Resistant Screws
Back in 2010, Apple signed an exclusive agreement with Caltech spinoff Liquidmetal Technologies, providing Apple with the rights to use Liquidmetal’s advanced metal alloys for consumer electronics purposes. Liquidmetal’s amorphous metal alloys or bulk metallic glasses posses a number of characteristic properties such as high strength and corrosion resistance while remaining relatively light and able to be cast into a variety of forms.
Apple quietly tested Liquidmetal’s alloys in the SIM card eject tool for the iPhone 3G, but the materials have otherwise not been confirmed to have appeared in any other Apple products, as one of alloys’ inventors noted in 2012 that their use as major design materials was still several years in the future.
Evidence of Apple’s continued interest with Liquidmetal alloys has surfaced a number of times over the past several years, including in a granted patent from July covering a process for mass producing thin sheets of the Liquidmetal alloys and a series of technical patent applications published in November describing methods of working with the alloys to create products.
A number of patent applications addressing additional innovations with Liquidmetal alloys have been published since that time, including a batch of 17 applications published just this past Thursday. Many of these applications are not yet listed as being assigned to Apple, but the inventors listed on the patents are Apple employees who have routinely been associated with the company’s work on Liquidmetal alloys in the past.
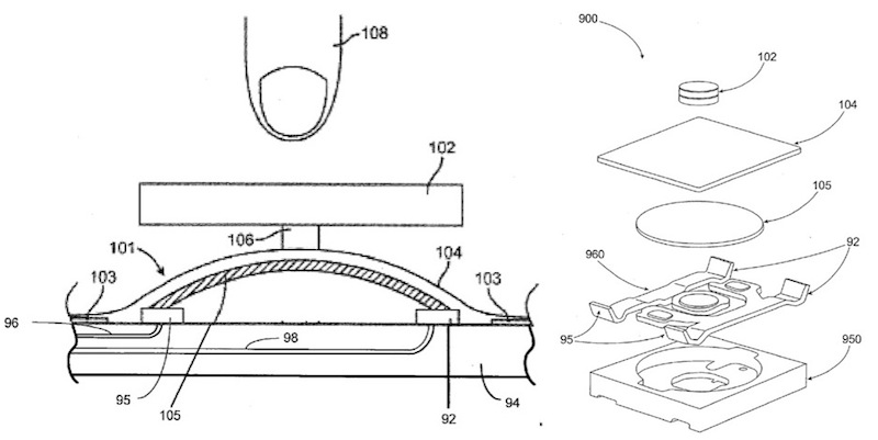
One of these patent applications proposes using Liquidmetal alloys in pressure sensors such as those found in buttons and switches on mobile devices, offering greater durability under repeated use. Figures accompanying the patent application closely resemble the iconic home button found on Apple’s iOS devices.
Because switches on consumer electronic devices are operated frequently, the materials used to fabricate the switch must be capable of repeated deformation and return to their original configuration. The ability of a material to deform reversibly under stress is known as the material’s elasticity. Above a certain stress, known as the elastic limit of a material or the yield strength, the metal material may deform irreversibly, becoming inelastic, exhibiting plasticity and adversely affecting the function and utility of the switch. […]
A proposed solution according to embodiments herein for pressure sensors is to use bulk-solidifying amorphous alloys as the deformable material, and to measure the pressure based on the physical changes of the bulk-solidifying amorphous alloy as it is deformed.
Button or switch using Liquidmetal alloy as deformable material
Another application published in mid-December describes how Liquidmetal alloys could be used as material for tamper-resistant screws to help secure devices against unauthorized access.
A proposed solution according to embodiments herein for tamper resistance is a fastener having a head portion and a tamper resistant bulk-solidifying amorphous alloy interlock portion, wherein the fastener and the substrate into which the fastener is fitted into are permanently fastened via an interlock formed from the interlock portion during the fastening process.
Tamper-resistant screw made of Liquidmetal alloys
A third patent application addresses the use of Liquidmetal alloys as a substrate for touch sensors found in displays such as in Apple’s iOS devices. Apple describes how discrete areas of crystallinity can be created on the amorphous metal substrate, allowing for greater control and higher density of touch sensing arrays, thus giving greater positional precision for touch sensing.
Touch sensor grid using Liquidmetal alloy as substrate
Most of the remaining patents are more technical in nature, addressing methods for working with Liquidmetal alloys or assessing their characteristics. One such patent application does, however, address methods for applying or transforming coatings to an amorphous material, allowing for increased durability and strength by protecting the underlying metal.
All of these patent applications were filed in June or July of 2012, suggesting that Apple may have made significant progress on these disclosed inventions since that time. It is unclear, however, whether any of the techniques or proposed components have made their way into shipping products or if they remain in the research or prototyping phase.
(Thanks, David!)![]()
Sprint hangs up on ‘One Up’ plans after only four months
Sprint has ceased its One Up plans after only four months of operation, according to the carrier’s support page. Initially launched to let customers spread their device payments out over two years, One Up provided for upgrades after the first year.
Sprint One Up ends on January 9, Framily Plans take effect January 10
As to why Sprint has sunset the plan so quickly it is unclear. Presumably, Sprint thinks the new Framily Plan is more worthwhile to consumers. It will take some to determine if folks are interested in sharing their plans with others in the name of a price break. Sprint’s One Up program arrived in late summer as other carriers rolled out their own early trade-in and upgrade plans.
The post Sprint hangs up on ‘One Up’ plans after only four months appeared first on AndroidGuys.
Multiple LG models discovered in benchmarks
A number of unannounced LG smartphones discovered in recent benchmark tests are leading many to believe the handset maker could soon introduce a gang of models. And, with Mobile World Congress less than two months to go, it makes sense that these sort of things happen.
The new models popping up on the radar include the following:
- LG-D830
- LS740
- LG-D410
- LG-D320
- LG-MS323
What’s notable about each of these devices is that each runs Android 4.4 KitKat. Historically, LG has announced multiple devices at MWC, spreading them out from low-end to high-end. It’s this time of year when we may see successors and variants of the G2, G Pro, or Optimus lines. Based on some of the model numbers we suspect that some of these are bound for the United States.
HTML5Test 1, 2, Bluetooth SIG via PhoneArena
The post Multiple LG models discovered in benchmarks appeared first on AndroidGuys.
UK carrier O2 dropping its mobile wallet service after less than two years
O2 UK’s carrier-independent Money mobile wallet may have proven a little too ambitious. The network is shutting down the service on March 31st so that it can investigate “new and better ways” to handle payments — in other words, it’s not satisfied with Money’s performance. Both the market and O2′s parent company Telefonica have changed in the past two years, the provider tells Computerworld UK. We can’t say we’re shocked by the closure when there are now many more ways to pay with your phone in the country; it’s a fiercely competitive space. Still, the news will be disappointing to shoppers who were hoping that O2′s clout would give Money an edge over its rivals.
Filed under: Cellphones, Mobile
Via: Computerworld UK, Business Insider
Source: O2 Money, O2 Community
Griffin and ShopKeep POS Announce ‘ShopKeep Mobile’ POS Case for iPod Touch [iOS Blog]
Following the release of an iPad point-of-sale (POS) stand last year, accessory manufacturer Griffin and ShopKeep POS have once again partnered up to announce the ShopKeep Mobile, a specialized POS case designed for the iPod touch. Using Griffin’s Olli technology and the ShopKeep POS app, the case features an encrypted credit card reader and laser barcode scanner to accept payments.
ShopKeep Mobile also comes with support for QuickBooks and the ability to create customer and item databases, along with the inclusion of an offline mode and printer support. The accessory can also email receipts to customers, with options to toggle discounts and sales tax also included.
Griffin also announced a partnership with Square at CES 2014 to release the Merchant Case + Square Reader for the iPhone 5s and iPhone 5, which is a specialized case that integrates itself with Square’s mobile card payment system for added convenience.
The ShopKeep Mobile accessory is in production beta and is expected to be available soon.![]()
SimCity getting offline mode ‘soon,’ aims to fix long-broken relaunch
EA’s reboot of SimCity remains in a state of disarray, and the latest effort to correct the situation is an upcoming offline mode for the otherwise always-online game. This is a pretty major change considering all the noise made about SimCity depending on cloud computing to run, and creative director Lucy Bradshaw saying “significant engineering” would be required to take the game offline. It’s not completely clear how the offline mode will work, though we do know it’ll add a single player mode and offer local saves.
“You can save and load to your heart’s content,” EA Maxis studio manager Paul Buechner said in a blog post this morning, which longtime SimCity fans know is a main pillar of the series. The update is coming “soon,” and Buechner also confirms that city sizes will not be increased (another major request from players) and modding will be all the easier with players not affecting the overall online world.
Filed under: Gaming
Source: SimCity blog












